Inyector de endotelio corneal

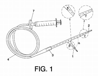
La presente invención se refiere a un inyector de endotelio corneal que comprende una primera vía de entrada del injerto en el inyector y una segunda vía de inyección del injerto en el ojo, donde la primera vía presenta un diámetro mayor que la segunda vía, de manera que se minimiza el riesgo de rasgado durante la aspiración del injerto ya que ésta se lleva a cabo por la primera vía para después inyectarlo en el ojo por la segunda vía, donde la forma del inyector va progresivamente moldeando el injerto para que salga adecuadamente enrollado a través de la segunda vía.